GB/T 14214-2019 Spectacle frames General requirements and test methods
This standard specifies the technical requirements for spectacle frames, the selection of test samples, sample pretreatment and requirements, testing, inspection and judgment, test methods and markings.
This standard applies to various types and styles of spectacle frames made of metal, plastic and natural organic materials, including frameless frames, semi-frame frames and folding frames.
This standard does not apply to spectacle frames designed to provide special protection for the human eye and custom-made frames.
Related documents:
The content of this standard refers to the following documents:
- GB/T 197 Ordinary threads Tolerances
- GB/T 250——2008 Textiles Color fastness tests Gray scale for evaluating color change
- GB/T 6682 Specifications and test methods for water used in analytical laboratories
- GB/T 8427 Textiles Color fastness tests Color fastness to artificial light: Xenon arc
- GB/T 11533 Standard logarithmic visual acuity chart
- GB/T 26397 Ophthalmic optics Terminology
- GB/T 38004 Spectacle frames Measurement systems and terminology
- GB/T 38009 Spectacle frames Technical requirements and measurement methods for nickel precipitation
Related terms
The terms and definitions defined in GB/T 26397 and listed below apply to this document. For ease of use, some of the terms and definitions in GB/T 26397 are repeated below.
| Term | Description | Note |
|---|---|---|
镜架型号 spectacle frames model | Frames of the same design, made of the same material (not necessarily the same color), and with the same surface treatment | For the purposes of this standard, a frame model is considered to have changed if the frame design, material or surface treatment is changed. |
天然有机材料 natural organic material | Materials that are not synthesized with other raw materials and can basically maintain their original properties after processing. Examples: Natural keratin, bamboo and wood. | The term “machining” is defined as cutting, forming, bending, polishing and heating. |
客户定制镜架 custom-made spectacle frame | Eyeglass frames are custom-made to meet the specific needs of the customer. | Eyeglass frames that are made specifically for a wearer with unusual facial features are considered custom frames. |
金属架 metal frame | The main part of the front frame of the eyeglass frame is made of metal material. | |
塑料架 plastic frame | The main part of the front frame of the eyeglass frame is made of plastic material. | |
方框法测量系统 boxed measurement system | A measurement system and definition based on the rectangle formed by horizontal and vertical tangent lines to the outer edge of the lens. | |
方框法中心 boxed center | In box measurement, the point where the horizontal and vertical center lines intersect. | |
方框法中心距 distance between center | The distance between the centers of the two boxes. | |
镜片水平尺寸 horizontal boxed lens size | In the box measurement method, the distance between the two vertical sides of the rectangular frame circumscribing the lens. | |
片间距离 distance between lenses | In the box measurement method, the distance between the two vertical sides of the rectangular frame circumscribed by the two lenses on the nose side. | |
镜腿长度 overall length of side | The distance from the intersection of the thread axis and the mid-plane of the hinge to the end of the temple parallel to the centerline. | For non-hinged temples, the temple length refers to the straight-line distance from the end of the temple to 10mm from the front frame when the temple and the front frame or the temple part attached to the front frame are opened to 90-05°. |
Technical requirements for frames
Performance requirements for different types of frames
| Eyeglasses Type | Item | |||||||
| Nickel precipitation | Appearance Quality | Size Tolerance | High temperature dimensional stability | Coating performance | Mechanical stability | Flame retardant | Light irradiation resistance | |
| Rimless and semi-rim | O | g | O | g | g | g | g | O |
| Other | O | g | g | g | g | g | g | O |
g Indicates the terms that should be complied with O Indicates optional compliance clause Note: “Other” include full-frame plastic eyeglasses frames, metal eyeglasses frames and folding frames, etc. | ||||||||
| The dimensional deviation in rimless and semi-rim is an optional compliance clause and does not include the temple length (i.e. the spectacle's temple length should meet the standard requirements). | ||||||||
General physiological compatibility
Spectacle frames should be designed and manufactured to meet the health and safety requirements of the wearer during normal use. Manufacturers should minimize the release of harmful substances from parts that come into contact with the skin for a long time, especially those that are allergenic, carcinogenic, mutagenic or toxic.
Any material may have rare or specific reactions, which may also be caused by excessive pressure, such as poor facial fit, chemical irritation or allergy, etc. Instructions can be provided to indicate specific personal choices.
Nickel release
The nickel release from the metal parts of metal frames and hybrid spectacle frames that are in direct and long-term contact with the wearer's skin should not exceed 0.5μg/(cm²·week) according to the GB/T 38009 test.
The tested parts should include:
- Front frame (hoop, nose bridge, if used, including stipules and metal-surfaced nose pads), excluding stipule bars and studs
- Temples: including the metal clip, but excluding the hinge, the area around the hinge and the area protected by the plastic sleeve
- Metal decorative parts installed on the inside of plastic temples and plastic sleeves
Appearance quality
The surface of the frame should be smooth, without blemishes and bumps, without obvious scratches, and the edges should be rounded.
Dimensional Tolerance
The nominal dimensions of the frame should be marked according to the GB/T 38004 box measurement system.
The dimensional deviation of the unassembled test piece frame should meet the following requirements:
- Horizontal size of lens:±0.5mm
- Distance between lenses:±0.5mm
- Temple length:±2.0mm
Threads used in frames
The thread tolerances used in frames should comply with GB/T 197.
Dimensional stability at high temperatures
For frames with test pieces installed, the distance between the ends of the two temples should not change by more than +6mm or -12mm. For small frames with a dimension of less than 100mm from the back of the front frame to the end of the temples, the dimension change should not exceed +5mm or -10mm.
Coating performance
Anti-sweat corrosion
In the anti-sweat corrosion test, visually inspect the specified parts at 8h and 24h of the test. The samples should:
- After 8 hours of testing, no spots or discoloration (excluding surface gloss loss) appear on any part of the frame (excluding hinges and screws)
- After a 24-hour test, the parts that are likely to come into contact with the skin for a long time during wear, namely the inner side of the temples, the bottom and lower part of the frame, and the covering layer on the inner side of the nose bridge, showed no corrosion, surface degradation or shedding.
If the spectacle frames are made of natural organic materials and the manufacturer recommends the use of grease or wax for maintenance in the instructions for use, the frames should be pre-treated according to the manufacturer's instructions before the test. If the surface discoloration or surface degradation of the frames does not meet the requirements after the test, the frames that have undergone surface pretreatment should be placed for 1 day and then checked again for surface discoloration or surface degradation. If the frames are restored to their original state, the frames are judged to have passed the test. If discoloration or degradation still remains, the frames are judged to have failed the test.
Coating bonding strength
After the corrosion resistance test, the coating should not fall off.
Note: The coating refers to the covering layer added to the surface of the frame during the production process due to design reasons, such as electroplating, painting, plasticizing layer, etc.
Mechanical stability
Nose bridge deformation
The frame with the test piece installed shall meet the following requirements when tested as specified:
- No breaks or cracks in any part
- Permanent deformation ≤0.02c

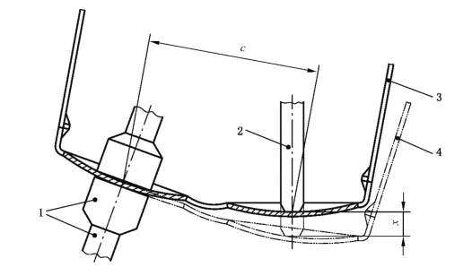
Description
1 ——Ring clamp
2 ——Pressure rod
3 —— Original position
4 —— Position after test
x —— Permanent deformation
c —— Frame geometric center distance
Lens clamping force
During the test, the two test pieces should not fall out of the ring groove or the hanging wire in whole or in part.
Fatigue resistance
After the test, the following situations should not occur in the frame with the test piece installed:
- Any breakage or cracking
- After 500 tests, the permanent deformation exceeds 5mm
- Requires more than slight finger force to open and close temples (except for frames with spring hinges)
- For non-spring hinge frames, any side of the temple will close down at any point in the opening/closing process due to its own weight; for spring hinge frames, the two temples cannot support their weight in the open position and cannot maintain the original function of the spring hinge.
Flame retardancy
According to the prescribed test, the tested part should not continue to burn.
Light irradiation resistance
According to the prescribed test, the sample should meet the following requirements when compared with the untested part of the frame:
- The color difference is not more than the gray scale grade 3 of GB/T 250-2008
- Bright surface without losing gloss
Test samples
To meet the test requirements, for each model of frames, at least two pairs of samples are randomly selected and marked as sample 1 and sample 2. Before the test, they are pre-treated as required.
Nickel precipitation test
If the nickel precipitation test is to be carried out on metal and mixed material frames, additional samples 3 and 4 should be taken and pre-treated and tested according to GB/T 38009.
Change of frame model
If a series of frame models are made of the same material and the same manufacturing process (including surface treatment), one of the frame models can be used for sweat corrosion resistance and flame retardancy tests, and light radiation resistance and/or nickel precipitation tests can be carried out if necessary.
Sample preparation and test conditions
Before starting the test, the sample should be placed in an environment at room temperature of 23℃±5℃ for at least 4h. The sample should be kept in the condition when the manufacturer or supplier delivered it, without pre-shaping, adjustment or lubrication, and the test should be carried out under the same environmental conditions as mentioned above.
| Pilot projects | Order | Sample 1 | Sample 2 | Sample 3&4 |
|---|---|---|---|---|
| Appearance | 1 | * | ||
| Size Tolerance | 2 | * | ||
| High temperature dimensional stability | 3 | * | ||
| Anti-sweat corrosion | 4 | * | ||
| Deformed bridge | 5 | * | ||
| Lens holding force | 6 | * | ||
| Fatigue resistance | 7 | * | ||
| Coating bonding strength | 8 | * | ||
| Flame retardant | 9 | * | ||
| Light irradiation resistance | 10 | *a | ||
| Nickel precipitation | 11 | *a | ||
*Indicates the test to be carried out aOptional Tests | ||||